2026年自审自发地区专项债券申报流程
来源: | 作者:泓创智胜 | 发布时间: 172天前 | 2884 次浏览 | 分享到:

鉴于近期专项债券申报咨询需求较多,泓创智胜基于全国各省份的实操经验,梳理了专项债券申报的核心流程。由于各省在政策执行、审核标准及材料要求上存在差异,具体申报时需结合当地最新政策调整。建议申报单位提前与地方财政部门或专业机构沟通,确保符合属地化要求。


一、专项债定义


专项债全称为“地方政府专项债券”,是指省、自治区、直辖市政府(含经省级政府批准自办债券发行的计划单列市政府)为有一定收益的公益性项目发行的、约定一定期限内以公益性项目对应的政府性基金或专项收入还本付息的政府债券。


1.发行主体:省级政府作为信用主体发行债券。


2.债券偿还:以项目对应的政府性基金或专项收入还本付息。难以偿还本息的,允许地方依法分年安排专项债券项目财政补助资金,以及调度其他项目专项收入、项目单位资金和政府性基金预算收入等偿还,确保专项债券实现省内各市、县区域平衡,省级政府承担兜底责任,确保法定债务按时足额还本付息,严防专项债券偿还风险。


3.债券形式与期限:专项债券采用记账式固定利率附息形式,专项债券期限为3年、5年、7年和10年、15年、20年、30年。


4.专项债券项目分类:项目收益与融资自求平衡的地方政府专项债券品种主要分为基础设施建设项目、土地储备项目(2025年新增)、收购存量商品房用作保障性住房项目(2025年新增);棚户区改造专项债券;收费公路专项债券。


二、专项债支持领域


专项债券投向领域实行“负面清单”管理。


主要支持有十二大领域:

1.交通基础设施

2.能源

3.农林水利和气象

4.生态环保

5.社会事业

6.城乡冷链等物流基础设施

7.市政和产业园区基础设施

8.新型基础设施

9.国家重大战略项目

10.保障性安居工程

11.城市更新

12.特殊重大项目


三、项目申报与审批

(一)申报时间

各市、县(市、区)政府一般应在每年10月底前完成下一年度项目的集中报送,并在次年2月底、5月底、8月底前分别完成当年二季度、三季度和全年项目的补充报送,必要时可增加申报批次。

(二)申报材料

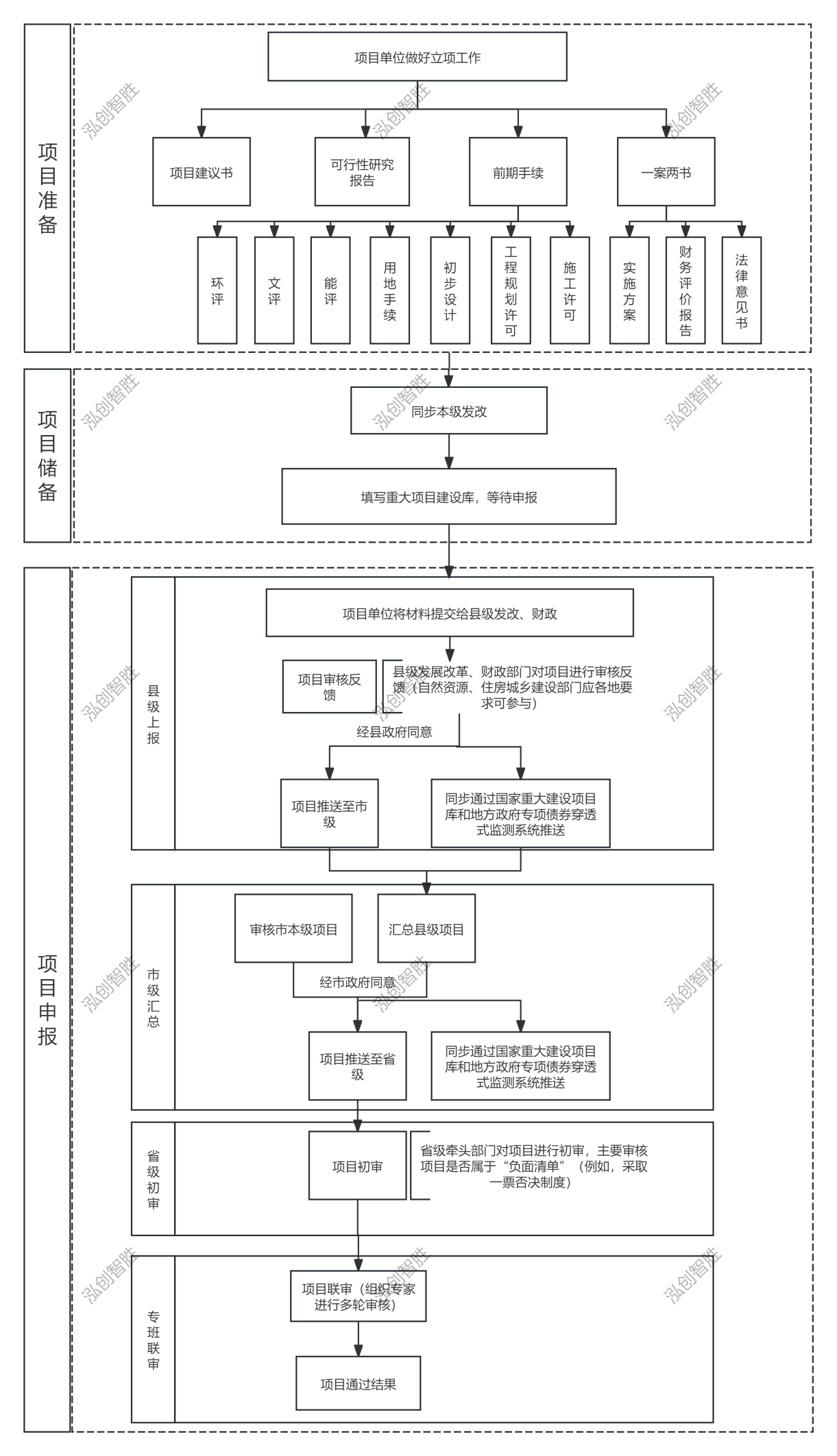
必要材料:项目批复手续;实施方案(含事前绩效评估)财务评估报告书、法律意见书(简称一案两书)。

其他材料:项目建议书、可行性研究报告以及相关前期手续(按照全生命申报流程准备手续包含用地手续、环评、能评、文评、初步设计、工程规划许可、施工许可,具体各省份会有删减)。

(三)申报流程

1.项目储备:项目情况与本级发改同步,填写重大项目储备库,等待申报。

2.县级上报:县级发展改革、财政、要素保障部门和主管部门(例如:自然资源、住房城乡建设部门)对申报项目进行分类整理,经县级政府同意后,正式报送至设区市级。

3.市级汇总:设区市级发展改革、财政、要素保障部门和主管部门(例如:自然资源、住房城乡建设部门)对市本级申报项目进行审核反馈,并汇总县级申报项目,经设区市级政府同意后,正式报送至省级统筹部门(例如:发改、财政)。

4.省级初审:省统筹部门和行业主管部门根据评价标准,分类开展初审。

5.专班联审:按照职责分工组织省级有关部门和专家进行多轮审核。

(四)申报节点

“自审自发”试点地区常态化、滚动式开展项目储备。具体地区会有不同情况。参考《湖南省推进地方政府专项债券项目自审自发试点实施方案》,各级各部门在每年10月底前将下一年度项目集中报送省发展改革委,由省发展改革委牵头组织财政和项目主管部门审核,原则上在次年1月底、3月底前进行该年度项目的补充报送,每批次项目一个月内审核完毕并反馈市县。

对“自审自发”试点地区以外的省份,建立“常态化申报、按季度审核”机制。各地专项债券项目应在每年10月底前完成下一年度项目的集中报送,并在次年2月底、5月底、8月底前分别完成该年度第二季度、第三季度、全年项目的补充报送。国家发展改革委、财政部两部门全年向各地开放信息系统,每年3月、6月、9月、11月上旬定时采集地方报送数据,并于当月内下发审核结果。


四、总结


2025年专项债券聚焦重点领域,在项目储备阶段,早谋划、早准备,选准重点支持领域项目。优先支持纳入国省重大规划、纳入国家重大区域战略的省市级项目,以及新质生产力、战略性前瞻性新兴产业基础设施项目。2026年,随着专项债券新机制政策持续落地,依旧将会按“资金跟着项目走”原则优化限额分配,始终向专项债券资金管理规范、使用效益好的地区倾斜,旨在提高资金的使用效益,更好地发挥专项债券的作用。


关注官方微信公众号,

了解更多资讯